Uvod u mrežni sloj
Sloj mreže OSI modela (engl. OSI Network Layer) je treći sloj u OSI mrežnom modelu i nalazi se između transportnog (engl. Transport Layer) i sloja veze (engl. Data Link Layer)
Slika: Enkapsulacija mrežnog sloja
Segmenti trasportnog sloja putuju kroz mrežu od ishodišta do odredišta u paketima. Da bi mrežni sloj znao da prosledi pakete do cilja, paketi moraju imati odredišnu adresu. Da bi se podaci mogli vratiti potrebno je znati i ishodišnu adresu. Adrese mrežnog sloja zovu se IP adrese i nalaze se u zaglavlju paketa. O IP adresama i dodatnim podacima potrebnim za prosleđivanje paketa od odredišta ka ishodištu, a koji se nalaze u zaglavlju paketa, više u poglavljima koji slede. Treba naglasiti da je IP adresa, logička adresa i da mora biti jedinstvena na internetu. Paketi se prosleđuju od logičke mreže do logičke mreže, sve dok ne stignu u odredišnu mrežu i na kraju do krajnjeg uređaja sa odredišnom IP adresom.
Uređaji koji povezuju logičke mreže i odlučuju kojim putem poslati paket prema cilju zovu se usmjernici (engl. router). Paket se od rutera do rutera približava odredištu. Ruteri prihvate paket, pročitaju odredišnu adresu, nađu najbolji put prema odredištu i na kraju prosleđuju paket prema cilju. Taj proces zove se usmeravanje ili rutiranje (engl. routing). Na odredišnom krajnjem uređaju skida se zaglavlje paketa i segment se prosleđuje transportnom
sloju. Proces skidanja zaglavlja zove se deenkapsulacija.
Možemo zaključiti da mrežni sloj obavlja sledeće zadatke:
- Adresiranje paketa pomoću ishodišne i odredišne IP adrese
- Enkapsulacija, odnosno dodavanje IP zaglavlja
- Usmeravanje paketa (routing) ili pronalaženje najboljeg puta do odredišta
- Deenkapsulacija, odnosno skidanje IP zaglavlja na odredištu.
IPv4
Zadatke mrežnog sloja odrađuju mrežni protokoli. Postoje ili bolje rečeno postojalo je više verzijamrežnih protokola (Novell IPX, Apple Talk, CLNS), ali danas je Internet protokol (IPv4) gotovo sinonim za mrežni protokol jer se koristi na internetu. IPv4 je besplatan i omogućava komunikaciju između uređaja različitih proizvođača. IPv4 opisuje strukturu zaglavlja kojim se enkapsuliraju UDP ili TCP segmenti transportnog sloja. Postoji i IPv6 verzija internet protokola, ali o njoj nešto kasnije.
Osnovne karakteristike IPv4 protokola su:
- Ne uspostavlja se veza između ishodišta i odredišta prije slanja paketa (engl. connectionless)
- Najbrža moguća usluga (engl. Best effort) – nema dodatnih kontrolnih paketa koji bi garantovali isporuku paketa. To mu omogućava najbrži mogući način prenosa paketa od ishodišta do odredišta. Cena brzine je nepouzdanost.
- Nezavisan od vrste medijuma za prenos podataka (engl. Media indepedent)
IPv4 ne uspostavlja vezu pre slanja paketa kao što to radi TCP protokol. Jednostavno pošalje paket i ne traži potvrdu primitka. To nije problem jer TCP protokol na transportnom sloju brine o pouzdanosti prenosa i traži potvrdu primitka. Ako paket ne stigne na odredište ili stigne neispravan, tada i segment koji je bio enkapsuliran u paket neće biti prosleđen transportnom sloju, odnosno TCP protokolu. TCP protokol na transportnom sloju tražiti će ponovno slanje segmenta, odnosno paketa. Što ako se na transportnom sloju umjesto TCP protokola koristi UDP protokol koji je nepouzdan kao i IP protokol? Tada se provera ispravnosti prenosa, ako je to potrebno, treba ugraditi u aplikaciju. IPv4 radi nezavisno od vrste medijuma za prenos. Struktura bitova u IP paketu se neće promeniti ako se paket šalje bežičnim, optičkim ili žičanim medijumom za prenos podataka.
IPv4 adresiranje
Struktura IPv4 adrese
Svaki uređaj u mreži mora biti jednoznačno definisan, odnosno mora imati svoju adresu. Ta adresa se u TCP/IP skupu protokola zove IP adresa. Sastoji se od četiri broja odvojena točkom. Brojevi mogu biti u intervalu od 0 do 255.
Primeri IP adresa:
192.120.234.11
10.10.230.11
211.20.11.132
Dužina IP adrese u binarnom obliku je 32 bita. Svakih osam bita je jedan broj. U ljudima prilagođenom zapisu, brojevi su odvojeni točkama radi lakšeg snalaženja u radu sa IP adresama. Na sledećoj slici je format IP adrese koji mi koristimo i ekvivalentni binarni zapis koji koristi računar.

Slika: Format IP adrese
Svaka IP adresa podeljena je na dva dela. Deo za adresu mreže i deo za adresu računara unutar mreže. Za sve uređaje koji imaju isti mrežni dio IP adrese, odnosno isti niz bitova koji definiše mrežni deo, kažemo da sa nalaze u istoj logičkoj mreži. Na sledećoj slici je prikazana mreža u kojoj prvi broj definiše mrežu. Pošto je prvi broj, odnosno prvi oktet, svim IP adresama isti, možemo reći da se svi računari nalaze u istoj logičkoj mreži. Adresu mreže dobijamo tako da mrežni dio adrese prepišemo, a deo adrese koji definiše računar postavimo u nulu. Iz navedenog možemo da zaključimo da se računari na slici nalaze u mreži 10.0.0.0. Adrese računara u mreži 10.0.0.0 su 10.0.0.1, 10.0.0.2 i 10.0.0.3 i 10.0.0.253.

Slika: Računari u istoj logičkoj mreži
Pomoću sviča se povezuju uređaji koji su u istoj logičkoj mreži. Ako želimo povezati dva uređaja koji imaju adrese u različitim logičkim mrežama, moramo ih povezati pomoću rutera. Ruter je uređaj koji povezuje uređaje koji se nalaze u različitim logičkim mrežama i preusmerava pakete između tih mreža.
Na sledećoj slici su dve logičke mreže povezane pomoću rutera. Sve pakete iz mreže 172.16.0.0 sa odredišnom adresom za mrežu 172.17.0.0, ruter će preusmeriti u mrežu 172.17.0.0 i obrnuto.

Slika: Računari u različitim logičkim mrežama povezani ruterom
Na prethodnoj slici mreža je bila definisana prvim brojem (8 bitova), a na ovoj slici sa prva dva broja (16 bitova). Postavlja se pitanje: kako znati koliko je bitova rezervirano sa mrežni dio, a koliko za uređaje u pojedinoj mreži samo na osnovu IP adrese (host dio). Drugo važno pitanje je kako odrediti koliko bitova će biti mrežni dio, a koliko host dio IP adrese. Prvi pokušaj rešenja tog problema bio je podela mreža na klase. Mreže unutar interneta podeljene su na klase: A,B,C,D i E. U zavisnosti od toga u kojoj klasi se IP adresa nalazi, određeni broj bitova deli se na mrežni dio adrese i dio za adresu računara u toj mreži. Dakle, klasa definiše mrežni dio adrese. Na slici je podela IP adresa na klase A,B i C. Adrese u klasi D i E su adrese posebne namene i o njima nešto kasne radi lakšeg razumevanja.

Klase A, B i C
Nameće se pitanje kako znati u kojoj je klasi koja adresa, odnosno koji je dio adrese mreža, a koji adresa unutar mreže. U počecima IP adresiranja dogovoreno je da prvi broj adrese definiše klasu. Definisanjem klase, definiše se
i mrežni dio. Ovakav način adresiranja još se zove i klasno adresiranje (engl. classful). U tablici su prikazani početni brojevi i klase kojoj pripadaju.
Na primer, analizirajmo IP adresu 193.100.10.3. Adresa počinje sa brojem 193. Broj 193 je u intervalu 192-223. Dakle adresa je u klasi C. Ako je u klasi C, prva tri okteta su rezervisana za adresu mreže, a zadnji četvrti oktet za računare u mreži. U našem slučaju adresa mreže je 193.100.10.0. Moguće adrese uređaja u toj mreži su od 193.110.10.1 do 193.100.10.254. Adresa 193.100.10.255 je adresa posebne namene, tzv. broadcast adresa i ne može se pridružiti uređaju. O njoj nešto kasnije.
Pogledajmo još jedan primjer. Pretpostavimo da je odredišna adresa 172.16.10.1. 172.16.10.1 je u klasi B jer je prvi
broj unutar intervala 128 – 191. Adresa mreže je 172.16.0.0 jer su u klasi B prva dva okteta adresa mreže. Sledeći logiku iz prvog primera, prva adresa koja se može dodeliti uređaju u toj mreži je 172.16.0.1, a zadnja 172.16.255.254. Broadcast adresa je 172.16.255.255.
Evo još nekoliko primera:

Vidimo da se najviše različitih mreža može napraviti u klasi C jer su tri okteta rezervirana za brojeve mreža. Isto tako, najmanje IP adresa možemo pridružiti uređajima u jednoj od mreža u klasi C jer je samo jedan oktet rezervisan za adrese uređaja unutar mreže. U klasi C se može pridružiti 254 različite adrese. Zašto 254 adrese? ((2 na 8) – 2 = 254), 2 na 8 je 256 različitih kombinacija, ali prva adresa je adresa mreže (svi host bitovi u nuli), a zadnja adrese je broadcast (svi host bitovi u jedinici). U klasi A je suprotan slučaj. Samo jedan oktet je za adrese mreža, a tri okteta su za adrese uređaja u mreži. U jednoj od mreža u klasi A može se adresirati (2 na 24) -2 uređaja. Klasa B je u sredini, 2 okteta za mrežu i dva okteta za uređaje u mreži. Iz koje klase će biti dodeljena mreža zavisit će od broja potrebnih adresa. Ako je potrebno malo adresa (manje od 254), dovoljna je klasa C. Ako je potrebno više od 254 adrese treba preći u mrežu klase B. Opisana podela IP adresa na klase je bio prvi princip
organizacije mreža. Prvi broj u IP adresi je određivao klasu, klasa je određivala koliko je bitova rezervisano za mrežni dio, a koliko za host dio. Na sledećoj slici prikazana je podela IP adresa na klase i broj mogućih mreža i uređaja u pojedinim klasama.

Slika: Podela IP adresa na klase A, B i C
Spomenuli smo da postoje i klase D i E. Razjasnimo ukratko namenu klasa D i E. Klasa E su adrese rezervisane za eksperimentalnu upotrebu i ne treba ih posebno razmatrati. Posvetimo se vrlo važnoj klasi D. Pre toga podsjetimo se koji sve tipovi adresa postoje. Postoje tri osnovna tipa IP adresa.
Sa prva dva tipa smo se već susretali. Unicast IP adrese adresiraju samo jedan uređaj u mreži. Paketisa odredišnom broadcast adresom namenjeni su svim uređajima na mrežnom segmentu. Domet broadcast adrese je samo unutar mrežnog segmenta jer ruter deli mreže i ne propušta broadcast pakete. Primer upotrebe broadcast
adresa je zahtev klijenta za TCP/IP konfiguracijom od
DHCP servera.
Kako znamo da je neka adresa broadcast, a ne unicast. Broadcast adresa je adresa u kojoj su svi host bitovi postavljeni u 1. Ako su svi host bitovi postavljeni u 1, tada je to zadnja adresa u mreži.
Primer broadcast adrese u mreži klase C 192.168.10.0 je 192.168.10.255. Mrežni deo su prva tri okteta, a četvrti oktet je rezervisan za adrese hostova unutar te mreže. Ako sve bitove host dela postavimo u 1, dobiti ćemo broj 255. Još jednom treba napomenuti da broadcast adresa može biti jedino adresa odredišta. Dakle, ne može biti pridružena računaru.
Klasa D su multicast adrese. To su adrese koje adresiraju grupu uređaja koji imaju pridruženu zajedničku multicast adresu. Primer upotrebe tog tipa adresa je gledanje video sadržaja na internetu (engl. video streaming). Poslužitelj koji šalje videosadržaj šalje samo jedan paket, a svi uređaji koji imaju pripadajuću multicast adresu primaju poslani paket. Tako poslužitelj ne mora slati paket posebno svakom uređaju. Da bi se koristilo multicast adresiranje i slanje paketa, moraju se koristiti multicast protokoli koji to omogućuju. Multicast adrese počinju od broja 224 pa sve do 239.
Uređajima se može uz unicast adresu pridružiti i više multicast adresa. Ako se uređaj želi pridružiti određenoj multicast grupi, dobije pomoću multicast protokola IP adresu te multicast grupe. Tu IP adresu gubi kada prestaje biti članom te grupe. Skup adresa klase D i E prikazan je u sljedećoj tablici.
Slika: Podela IP adresa na klase D i E
Kreiranje podmreža
U ranim danima interneta smatralo se da će podela IP adresa na klase biti dovoljna. Naime, u mreži klase C uređajima se može pridružiti 254 adrese. Ako imamo mrežu kojoj je potrebno više od 254 adrese, sledeći korak je klasa B. U mreži klase B možemo pridružiti 65534 adrese. Problem je u tome što ako trebamo npr. 300 adresa, moramo upotrebiti klasu B u kojoj dobivamo 65534 adrese. U mreži klase C ne možemo dobiti manje od 254 adrese bez obzira na to što nam možda treba 30.
Posljedica ovakve grube podjele mnoštvo je rezervisanih, ali neupotrebljenih i za druge korisnike nedostupnih adresa. Kada se osmišljavao ovakav način IP adresiranja, niko nije ni pomišljao da će Internet narasti na toliki broj korisnika koji trebaju IP adrese. Zbog brzog rasta interneta došlo se do zaključka da će takvim načinom podele mreža, sve mreže vrlo brzo biti potrošene.
Počelo se osmišljati tehnike koje bi ublažile problem koji uzrokuje prekratka IP adresa. Krenulo se od ideje da podela na broj bitova za mrežu ne bude samo 8, 16 i 24, već da to može biti bilo koji broj. Na taj način bi se moglo prilagoditi broj bitova za mrežu i hostove prema potrebi. To se može postići kreiranjem podmreža unutar glavne mreže klase A, B ili C. Bitovi mreže se produžuju od levo na desno unutar bilo koje klase i pomoću njih se kreiraju podmreže proizvoljne dužine. Na sledećoj slici je prikazana ideja kreiranja podmreža.
Slika: Podela IP adrese bez podmreže i sa podmrežom
Odmah se nameće sledeće pitanje: kako sada znamo koliko je bitova za mrežu? Prvi broj IP adrese govori nam o kojoj se klasi radi, a ako ukrademo određeni broj bitova iz drugog dela adrese i pridružimo ih mreži, više ne znamo po prvom broju koliko je to bitova. Problem je rešen dodavanjem mrežne maske koja nam govori koliko je bitova u adresi mrežni dio (engl. subnet mask). Mrežne maske formalizirane su 1985. godine (RFC 950). Njihova namena
bila je da omoguće razbijanje mreža klase A,B i C u sitnije delove.
Da zaključimo, pre uvođenja mrežne maske mrežni dio adrese morao je biti 8,16, ili 24 bita. U kojoj klasi se nalazi adresa govorio nam je prvi broj IP adrese. Uvođenjem mrežne maske, mrežni dio adrese više ne mora biti 8,16 ili 24 bita, već bilo koji broj bitova. Svaka IP adresa mora se nalaziti unutar neke mreže. Mrežna maska je broj koji pokazuje gdje se unutar IP adrese nalazi granica između mrežnog dela i dela za adresu računara unutar mreže (engl. Host ID). Pogledajmo na sledećim primerima kako izgleda mrežna maska. Vidimo da je to IP adresa posebnog formata. Jedinice u mrežnoj masci označavaju bitove u IP adresi koji pripadaju mreži, a 0 označavaju bitove koji pripadaju adresi unutar mreže.
Primer mrežne maske:
255.255.255.0
11111111.11111111.11111111.00000000
Ovo je mrežna maska mreže u klasi C jer su prva 24 bita postavljena u 1, što znači da su prva 24 bita mrežni dio.
Sledeći tu logiku, mrežna maska klase A je 255.0.0.0 jer samo prvi oktet adrese određuje mrežu, a mrežna maska klase B je 255.255.0.0 jer su prva dva okteta adresa mreže.
Privatne i javne IP adrese
Organizacije javnu IP adresu dobijaju od svog pružatelja internetskih usluga (ISP) - provajdera. Sve javne IP adrese moraju biti registrovane kod regionalne organizacije za dodelu internet adresa RIR (Regional Internet Registries).
Verovatno ste primetili da su većina adresa koje smo koristili u primerima iz sličnog skupa adresa. Najčešće im je prvi broj 10, 172 ili 192. Takođe ste mogli primetiti da su to česte adrese u lokalnim mrežama i na vašim računarima. To su privatne IP adrese koje se upotrebljavaju samo unutar
lokalne mreže i ne mogu se koristiti na internetu. U svakoj klasi definisan je skup adresa koji je proglašen privatnim adresama (RFC 1918) i služi isključivo za upotrebu unutar lokalne mreže, odnosno izvan interneta. Skup privatnih adresa prikazan je na slici.

Slika: Skup privatnih IP adresa
Za razliku od javnih IP adresa koje moraju biti unikatne, a dodeliti ih moraju ovlaštene organizacije, privatne IP adrese može koristiti bilo ko. Pet mreža ili pet miliona mreža može upotrebljavati iste IP adrese. Da ne bi došlo do konflikta među adresama, granični ruteri prema Internetu podešeni su da ne prosljeđuju privatne IP adrese na Internet. Privatne adrese štede javne IP adrese kojih ionako nema dovoljno i omogućavaju fleksibilnost pri projektovanju lokalnih mreža, bez ograničenja javnog IP adresiranja. Privatne IP adrese omogućavaju bezbrižno projektovanje lokalnih mreža bez potrebe usklađivanja sa spoljnim svetom.
Što ako dve takve mreže, odnosno računara iz te mreže žele komunicirati preko interneta? Znamo da se na internet može samo adresom iz skupa javnih adresa. To je jamstvo da ne postoje dve iste adrese na internetu. Rešenje je
u mehanizmu koji privatne adrese prevodi u javne adrese. Granični ruter prema Internetu prevodi privatne adrese u javne i obrnuto. Tehnika prevođenja privatnih IP adresa u javne i obrnuto zove se NAT (engl. Network Address Translation).
Skup privatnih adresa iz
lokalne mreže može se prevoditi u skup javnih adresa (engl. pool) ili u samo jednu javnu IP adresu. Ako se privatne adrese prevode u samo jednu javnu IP adresu, tada internet vidi celu mrežu kao jednu IP adresu. NAT u određenoj mjeri povećava stepen sigurnosti u mreži jer je cela mreža sakrivena iza jedne IP adrese, ali glavna korist od NAT-a je ušteda IP adresa jer omogućava korištenje privatnih IP adresa u lokalnim mrežama. Na
slici je osnovni princip. Na jednoj strani je privatna mreža s privatnim adresama, a na je drugoj strani javna mreža sa javnim adresama.

Slika: Ruter je granica između privatne i javne mreže
Kada paket izlazi iz
lokalne mreže, na graničnom ruteru se u paket, u polje ishodišne adrese, stavlja javna IP adresa. Kada se paket vrati, javna adresa se ponovno zamenjuje privatnom. Najčešći je slučaj da se skup privatnih adresa iz
lokalne mreže prevodi u jednu javnu IP adresu. Postavlja se pitanje: kako ruter zna kojem računaru u lokalnoj mreži da prosledi vraćeni paket, odnosno koju privatnu adresu da ponovno vrati u paket, budući da su svi paketi otišli na internet sa istom ishodišnom javnom adresom, pa se svi i vraćaju sa istom odredišnom javnom adresom. Da bismo povezali računar i paket u slučaju da svi paketi izlaze sa istom javnom adresom, treba nam još jedan dodatni parametar koji će jednoznačno definisati uređaj sa kojega je paket poslan. Za taj dodatni parametar koristi se broj porta. Zato se ta tehnika često zove i PAT (engl. Port Address Translation).

Slika: PAT (engl. Port Address Translation)
Na prethodnoj slici prikazan je mehanizam razmene adresa. Pretpostavimo da računar sa privatnom adresom 192.168.10.10 želi poslati zahtev za web stranicom web browseru na javnoj adresi 209.165.201.1. Kada paket stigne na granični ruter na kojem je konfigurisan NAT odnosno PAT, ruter će u svoju tablicu upisati ishodišnu privatnu adresu i broj ishodišnog porta (u našem slučaju 192.168.10.10:1555). Zatim će u polje ishodišne IP adrese upisati javnu adresu konfigurisanu na ruteru da predstavlja lokalnu mrežu na Internetu (u našem slučaju 209.165.200.226). Broj ishodišnog porta ostat će isti. Port je dakle veza između privatne i javne IP adrese. Paket sa zahtevom doći će do web poslužitelja i web poslužitelj šalje paket sa web stranicom klijentu, odnosno našem računaru. Ishodišna adresa sada postaje odredišna. Ista je stvar i sa portovima. Odredišni port postaje
ishodišni. Paket se vraća na adresu 209.165.200.226 i port 1555. Paket stiže do graničnog rutera. Ruter pročita broj odredišnog porta (1555). Potraži u tablici taj broj porta i nađe privatnu IP adresu. Tu adresu stavi u polje za odredišnu adresu i prosledi paket u lokalnu mrežu.
Naglasimo još jednom, broj porta je veza između privatne i javne adrese. Broj porta nam definiše klijentsku ili poslužiteljsku aplikaciju na računaru, ali i pomaže pri prevođenju privatnih adresa u javne i obrnuto. Može se dogoditi da dva računara u lokalnoj mreži generišu isti broj ishodišnog porta pri slanju paketa. U tom slučaju NAT ruter promeni i broj porta, ali to ažurira u NAT tablici i pri povratku paketa s tim brojem porta uz orginalnu adresu u IP paket upiše ponovno i orginalni broj porta.
Već smo spomenuli da je dobra strana NAT tehnike što štedi IP adrese i pozitivno utiče na fleksibilnost projektovanja lokalnih mreža, te u određenoj meri povećava sigurnost mreže jer se sa interneta mreža vidi kao jedna adresu. Unatoč tome NAT ipak ima i nedostataka.
Neki od nedostataka NAT tehnologije su:
- Smanjuje performanse mreže.
- Veza od kraja do kraja (engl. end to end) onemogućena je za aplikacije koje ne smeju meenjati IP adresu.
- Otežava vezu između IPv4 i IPv6 mreža.
- Teže je rešavati probleme u mreži.
Mrežni protokol IPv6
Zašto IPv6?
Kada se u kasnim šezdesetim odnosno ranim sedamdesetim godinama prošlog veka, počelo govoriti o nečemu što se danas možda, ali samo možda može nazvati pretečom Interneta, niko nije mogao zamisliti kako će to danas izgledati.
Pametni telefoni, tableti... pa i televizori imaju IP adresu.
U prethodnom tekstu smo pokazali u čemu je razlika između privatnih i javnih IP adresa, kao i da kompanije, javnu IP adresu dobijaju od svoga privajdera. Sve javne IP adrese moraju biti registrovane kod regionalne organizacije za dodelu internet adresa RIR (Regional Internet Registries). I upravo je „problem“ u tim, javnim IP adresama. Iako, IPv4 standard sve teže podnosi zahteve koji se pred njega postavljaju, adresni prostor definitivno nije jedini, ali je svakakonajveći problem.
Prvobitna podela IP adresa na klase pokazala se pregrubom. Već u samom početku naglog razvoja Interneta došlo se do zaključka da dodela IPv4 adresa nije efikasna i da će ubrzo biti potrošene. Da bi se produžio život IPv4 adresama, uvedene su tehnike kao što su CIDR (engl. Classless Interdomain Routing ), VLSM (engl. Variable Length Subnet Mask), privatne adrese i NAT (engl.Network Address Translation). CIDR i VLSM povećavaju fleksibilnost dodeljivanja IP adresa, a NAT smanjuje potrebu za javnim IP adresama.
Napomena: Upravo zbog korištenja NAT-a, u tzv. SOHO/SME okruženjma, ne osećamo nedostatak javih IP adresa jer nam je u većini slučajeva, za sveprisutnost na Internetu dovoljna samo jedna, javna IP adresa.
Međutim, te tehnike pomažu, ali nikako nisu dugoročno rešenje. Rešenje je u novoj strukturi IP paketa i IP adrese koja neće imati samo veći broj bitova, već će rešiti i probleme koji nisu bili rešeni ili su samo delimično rešeni u staroj IPv4 verziji.
Nova verzija dobila je ime IPv6. IPv6 adresa dugačka je 128 bitova. Stiče se dojam da su kreatori nove strukture adrese, poučeni iskustvom sa IPv4 adresama, ovaj put išli na sigurno. Dio adresa i sada je rezervisan za posebne namene. Uvažavajući tu činjenicu i činjenicu da na svetu živi oko 6,6 milijardi ljudi, za svakog od nas rezervisano je otprilike 5 x 1028 adresa ili otprilike 665,570,793,348,866,943,898,599 adresa po kvadratnome metru površine Zemlje. To bi zaista trebalo biti dosta. Glavni razlog prelaza na IPv6 jest proširenje adresnog prostora i poboljšano adresiranje,ali željelo se iskoristiti priliku i u novu verziju ugraditi iskustva stečena svih prošlih godina, u svrhu povećanja učinkovitosti u prosleđivanju paketa i fleksibilnosti na nove zahteve. Zbog povećanja učinkovitosti zaglavlje IP paketa pojednostavljeno je. Izbačena su nepotrebna polja i dodat je mehanizam za proširenje
eventualnih mogućnosti.
Bitne novosti IPv6 verzije jesu:
- mnogo veći adresni prostor
- ugrađeni mehanizmi zaštite podataka
- poboljšana podrška za kvalitet usluge (QoS – Quality of Service)
Predstavljanje IPv6 adresa
Jedno od obeležja IPv6 jest agregacija adresa kojom se smanjuju tabele rutiranja i ubrzava se rutiranje. Osnovni format IPv6 adrese prikazan je u sledećem primeru:
2031:0000:130F:0000:0000:09C0:876A:130B
IPv6 adresa se prikazuje u brojnom sistemu sa osnovom/bazom 16. Svaki od ta četiri broja, odnosno 16 bitova, su odvojena dvotačkom. Prikaz adrese nije konstantan, već varira u yavisnosti od kombinacije brojeva u adresi. Ideja je da se, ako je to moguće, zapis pojednostavi.
Pravila pisanja IPv6 adrese su sledeća:
- Vodeće nule u polju između dve dvotačke su opcione. Na primer, broj 07FE može se pisati i kao 7FE, a broj 0000 kao 0.
- Adresa 2031:0000:140F:0000:0000:09B0:000A:140B može se pisati i kao 2031:0:140F:0:0:9B0:A:140B.
- Uzastopni niz nula može se prikazati kao dve dvotačke ::. Adresa iz prethodnog primera 2031:0000:140F:0000:0000:09B0:000A:140B može se prikazati i kao: 2031:0:140F::9B0:A:140B.
- Važno je napomenuti da se :: može upotrebiti samo jednom u adresi.
Evo nekoliko primera skraćenih zapisa IPv6 adrese:

Tipovi IPv6 adresa
IPv6 podržava tri tipa adresa:
- jedinstvenu adresu (engl. unicast address)
- grupnu adresu (engl. multicast address)
- adresu najbližeg odredišta (engl. anycast address)
Jedinstvene adreseJedinstvena adresa je adresa prema jednom odredištu.
Jedinstvene adrese mogu biti sledeće:
- Pridruživa globalna adresa (engl. aggregatable global unicast address) – ekvivalent je globalnoj (javnoj) IPv4 adresi. Podskup tih adresa su i adrese najbližeg odredišta (engl. anycast address)
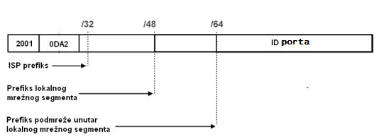
Slika: Format pridružive globalne adrese
Fiksni prefiks 2000::/3 (001) pokazuje da je reč o globalnoj adresi. Prvih 48 bitova označava globalni prefiks rutiranja. Globalni prefiks rutiranja je jedinstveni identifikator mreže spojene na Internet. Prefiks podmreže unutar mrežnog segmenta je identifikator podmreže. ID porta označava identifikator mrežnog porta. ID porta jedinstven je unutar jedne podmreže. Internet standardi zahtevaju da ID porta bude u tzv. EUI-64 formatu.
- Adresa na lokalnoj vezi (engl. link-local unicast address) – koristi se kada je potrebno izvršiti automatsko podešavanje mreže. Povezuje uređaje koji se nalaze na lokalnoj vezi. Adrese na lokalnoj vezi imaju prefiks FE80::/10. Postoji analogija sa APIPA-om
Slika: Format adrese na lokalnoj vezi
- Adresa lokalne veze (engl. site-local unicast address) – ima istu ulogu kao i privatne adrese 10.0.0.0/8, 172.16.0.0/12 i 192.168.0.0/16 u IPv4. Koristi se za adresiranje uređaja koji nisu spojeni na Internet. IPv6 ruteri pakete koji u sebi sadrže ove adrese ne prosleđuju na Internet. Domet im je unutar lokalne mreže.

Slika: Format adrese lokalne veze
Grupne adrese
Grupne adrese (multicast) su adrese prema više odredišta. Kada je u paketu grupna odredišna adresa, taj paket se dostavlja na sve portove kojima je pridružena ta adresa. Grupne adrese počinju prefiksom FF00 :: /8. Drugi oktet definiše doseg adrese. Ruteri koriste podatke u ovom oktetu da bi
odredili treba li se paket prosleđivati dalje. Neke od vrednosti koje mogu biti u drugom oktetu su:
- 1 – doseg lokalnog mrežnog porta (engl. interface-local)
- 2 – doseg unutar lokalne veze (engl. link-local)
- 5 – doseg lokalnog administrativnog domena (engl. site-local)
- 8 – globalni doseg (engl. global).
Primer grupne adrese sa dosegom unutar lokalne veze je FF02::2. Takav paket ruteri neće proslediti van lokalne veze. IPv6 nema univerzalnu adresu (broadcast). Uređaji u mreži često se opterećuju nepotrebnim paketima koji nisu namenjeni njima. Ulogu univerzalne adrese preuzele su grupne adrese. Grupne adrese od FF00:: do FF0F:: su rezervisane. Neke od zadatih adresu su:
- FF02::1 – svi uređaji na vezi
- FF02::2 – svi ruteri na vezi
- FF02::9 – svi IPv6 RIP ruteri na vezi
- FF02::1:FFXX:XXXX grupna adresa koja je dobijena na upit (engl. solicited-node multicast address)
Format grupne adrese prikazan je na sledećoj slici
:

Slika: Format grupne adrese
Adresa prema najbližem odredištu
- Adrese prema najbližem odredištu (engl. anycast address) mogu biti pridružene na više portova. Paket se prosleđuje najbližem portu. Najbliži port određuje kolika jr mera kvaliteta puta ruterskog protokola koji se koristi. Svi uređaji sa istom adresom prema najbližem odredištu (anycast) pružaju istu uslugu. Adresa prema najbližem odredištu globalna je jedinstvena adresa koja je pridružena na više portova. Na slici je primer primene tog tipa adresa za određivanje graničnog rutera prema ISP-u. Ruteri R1 i R2 na portovima prema internoj mreži imaju pridružene adrese prema najbližem odredištu (anycast). Klijent na slici će se povezati sa ISP-om preko rutera R1 jer je bliži. Ako ta veza više nije dostupna, klijent će se na Internet povezati sa sledećim najbližim ruterom koji ima istu adresu prema najbližem ruteru. U primeru na slici to je ruter R2.

Slika: Putanja prema ISP-u na osnovu adrese prema najbližem odredištu
Pridruživanje IP adresa
IPv6 adrese mogu biti pridružene:
- samostalnom autokonfiguracijom
- dinamički, s pomoću DHVPv6 servera.
- Samostalna autokonfiguracija – kada se priključi na lokalnu vezu, uređaj šalje ruteru zahtev za mrežnim prefiksom na odredišnu grupnu adresu FF02::2 (engl. solicitation message).Ruter nakon toga oglašava informaciju o mreži (oglašava i periodično) svim uređajima na lokalnoj vezi sa odredišnom grupnom adresom FF02::1 (engl. advertisement message). Informacija, osim 64-bitnog prefiksa mrežnog dela, uključuje i vreme života te informacije te standardnu putanju. Krajnji uređaj koji sluša oglašivanje rutera će da spoji dobijeni mrežni prefiks sa EUI-64 formatom dela adrese koji definiše uređaj u mreži (ID porta). Na taj se način autokonfiguracijom dobija cela IPv6 adresa i ostali potrebni mrežni parametri. Proces koji se naziva DAD (engl. Duplicate Address Detection) otkriva i izbegava dvostruke adrese. Samostalnom autokonfiguracijom mogu se jednostavno promeniti adrese mreža. Dovoljno je prekonfigurisati ruter da oglašava nove mreže.
- DHCPv6 – ovsj način adresiranja može da se koristi za nadzor pridruživanja IPv6 adresa uređajima.
Prelazak sa IPV4 na IPv6
Kako se iz dosadašnjeg izlaganja može zaključiti, IPv6 nam u odnosu na IPv4 donosi znatna poboljšanja i nije teško doći do zaključka da je „budućnost“ Interneta upravo u IPv6 adresiranju. Međutim, sam prelazak sa jedne na drugu verziju protokola nije ni malo jednostavan. Iako Windows računari (Windows 7, Windows 8) mogu da rade sa IPv6, na samom putu od našeg računara „preko brda i dolina Interneta“ do odredišne adrese koju želimo otvoriti nalazi se još puno, puno toga. Preći sa jedne verzije na drugu, recimo danas, otprilike je isto kao i da promenimo ključ na ulazu u našu zgradu, ali ga u međuvremenu nikome ne damo.
Iz tog razloga, s obzirom da je Internet složen „eko sistem“, nije moguće zameniti način adresiranja preko noći. Za to je potreban određen period, koji je započeo i trajati će još neko vrijeme. Sam proces mora biti transparentan za korisnike pa je za to prelazno razdoblje razvijeno nekoliko tehnika:
- Dvostruki stek (eng. Dual stack) – gde su obe verzije istovremeno aktivne kao dva nezavisna procesa odnosno sistema te krajnji uređaji i ruteri imaju i javnu IPv4 i javnu IPv6 adresu. Sa takvim načinom rada, omogućuje se i provajderima i klijentima i aplikacijama da postepeno pređu na novi protokol bez gubitaka servisa odnosno dostupnosti za bilo koga.
- Tunelovanje (eng. Tunneling) – ovom tehnikom, vrlo pojednostavljeno rečeno, „pospremamo“ odnosno pravilno rečeno, enkapsuliramo IPv6 pakete unutar IPv4 paketa. Sam paket „putuje“ kao IPv4 paket do onoga trenutka dok IPv6 mreža ne postane dostupna, kada se deenkapsulira IPv6 paket iz IPv4 paketa i prosledi u IPv6 mrežu.
Postoje četiri tipa tunelovanja:
- Ručno tunelovanje - administrator ručno konfiguriše statičke IP adrese na portu na početku i kraju tunela. Uređaj ili ruter na svakom kraju tunela mora da podržava oba protokola.
- 6 na 4 tunelovanje – princip rada je sličan kao i kod ručnog tunelovanja, s tim što se 6 na 4 postavlja automatski.
- Teredo - enkapsulira iPv6 pakete u iPv4/UdP segmente.
- ISATAP - tretira iPv4 mrežu kao NBMA (non-broadcast multiple access network) mrežu i omogućuje IPv4 privatnim mrežama dodatnu implementaciju na iPv6.
- Translacija (eng. Translation) – rešenje u kojem se omogućava komunikacija IPv6 uređaja sa IPv4 uređajima. U osnovi, translaciju možemo smatrati kao „produženu ruku“ NAT tehnike gde se odrađuje mapiranje IPv6 adrese u IPv4 adresu i obrnuto.
Internet Control Message Protocol - ICMP
IP protokol pokušava što je moguće brže proslediti paket od ishodišta do odredišta (engl. Best effort delivery system). Da bi bio što brži, nema ugrađene kontrolne mehanizme provere da li je podatak stigao na odredište, a ima mnogo razloga zbog kojih se može desiti da paket ne stigne do odredišta. Pošto IP protokol nema ugrađen mehanizam kontrolnih poruka i poruka grešaka pri prenosu, potrebna mu je pomoć. Taj posao za njega obavlja ICMP protokol. Zato se može smatrati podprotokolom IP protokola. ICMP je jedan od važnijih protokola iz skupa TCP/IP protokola. Njegov
posao je slanje poruka. Zbog toga se često koristi u dijagnostičke svrhe. Ako računar A pošalje paket računaru B i taj paket zbog neispravnog fastethernet porta na ruteru C ne može biti prosleđen računaru B, ruter C će koristiti ICMP da bi poslao poruku računaru A da paket nije stigao na
odredište. Treba naglasiti da ICMP ne ispravlja greške, već da samo šalje poruke o greškama.
Pošto se zna samo adresa ishodišnog uređaja, a ne i put kojim je paket prošao do cilja, ICMP poruka se šalje samo ishodišnom uređaju. U primeru na slici, samo računar A će dobiti poruku o grešci, a ne i ruteri B i A. ICMP poruke šalju se ishodišnom uređaju enkapsulirane u IP zaglavlje.
Pošto su ICMP poruke enkapsulirane u IP zaglavlje, može doći do greške u prenosu paketa sa ICMP porukom kao i svakog drugog paketa. Da ne bi ICMP poruke javljale greške o slanju ICMP poruka i tako došlo do eventualnog zagušenja porukama, greške pri prenosu ICMP poruka se ne javljaju
novim ICMP porukama. To otvara mogućnost da neke greške pri prenosu paketa nikada ne budu dojavljene.
Naredba Ping
Naredba Ping (Packet Internet Grouper) je osnovni alat za proveru postojanja veze između dva uređaja u mreži i rešavanje problema ako sa vezom nešto nije u redu. Naredba Ping šalje ICMP (Internet Control Message Protocol) poruke - echo request do odredišnog uređaja. Ako je veza ispravna, odredišni uređaj će primiti ICMP poruke i na njih odgovariti porukom - echo response. Ping paket obično sadrži 32 ili 64 bajta podataka. Ako uređaj koji šalje zahtev primi odgovor u određenom vremenu, veza između dva uređaja je ispravna. To znači da su svi mrežni uređaji između ishodišnog i odredišnog uređaja ispravni i da su ispravno konfigurisani.
Karakteristike Ping paketa su:
- Svakom paketu dodeljuje se broj, te se tako može doznati koji paket se vratio ili je izgubljen.
- Svakom paketu se dodaje vremenska oznaka (Timestamp) pomoću koje se može izračunati koliko je vremena trebalo paketu da se vrati (RTT- Round Trip Time).
Osnovna sintaksa naredbe Ping je ping ip adresa npr. ping 192.168.100.1
Za promenu osnovne sintakse naredbe Ping koriste se dodatne opcije. Neke od njih su:
- ping -l – Definiše veličinu ping paketa koji se šalje.
Primer: ping –l 3000 192.168.100.1 – paketi su veličine 1000 bajta.
- ping -n – definiše broj ping paketa koji će biti poslati na odredište.
Primer: ping –n 20 192.168.100.1 – biti će poslano 20 paketa na odredište.
Naredba Traceroute
Tracert (traceroute) naredbom dobija se informacija o čvorovima kroz koji paket prolazi od ishodišta do odredišta. Koristi iste zahteve kao i Ping, samo na nešto drugačiji način. Tracert šalje tri puta uzastopno pakete do svakog rutera na putu do odredišnog čvora, i daje informaciju o RTT do svakog od njih. Kada ruter, koji se nalazi na putu prema odredišnom uređaju, primi jedan od paketa, vratiće ishodištu poruku koja sadrži ime i adresu rutera. Naredba Tracert je korisna kod rešavanja problema u mreži jer se pomoću nje može utvrditi na kojem delu mreže (na kojem ruteru) je pukla veza i gde treba tražiti rešenje problema.
Osnovna sintaksa naredbe Tracert : tracert ip adresa npr. tracert 68.100.23.11